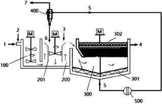
污水处理及其再生利用中的高效除臭方法
常州武进 垃圾变肥料 污水再生利用——以循环利用守护绿水青山
联系我们 Contact

电话:1819842**

地址:广州市增城区新塘镇新塘大道西401号2F008B单元

邮箱:18198922c**[email protected]

网址:www.jiejinggz.com

企业简介 Introduction
广州洁境环保技术有限公司成立于2018年07月20日,注册地位于广州市增城区新塘镇新塘大道西401号2F008B单元,法定代表人为林军。经营范围包括雨水、微咸水及矿井水的收集处理及利用;污水处理及其再生利用;大气污染治理;环境保护专用设备销售;环境保护专用设备制造;园林绿化工程施工;灌溉服务;机械电气设备制造;电气机械设备销售;金属制品销售;塑料制品销售;塑料制品制造;橡胶制品销售;场地设施工程施工;对外承包工程;照明器具销售;涂料销售(不含危险化学品);合成材料销售;专用化学产品销售(不含危险化学品);新材料技术推广服务;技术服务、技术开发、技术咨询、技术交流、技术转让、技术推广;建设工程设计;货物进出口;
产品大全 Product
企业信息 Information
企业信息 经营范围

公司名称:广州洁境环保技术有限公司

法人代表:林军

注册地址:广州市增城区新塘镇新塘大道西401号2F008B单元

所属行业:科技推广和应用服务业

更多行业:其他科技推广服务业,科技推广和应用服务业,科学研究和技术服务业

经营范围:雨水、微咸水及矿井水的收集处理及利用;污水处理及其再生利用;大气污染治理;环境保护专用设备销售;环境保护专用设备制造;园林绿化工程施工;灌溉服务;机械电气设备制造;电气机械设备销售;金属制品销售;塑料制品销售;塑料制品制造;橡胶制品销售;场地设施工程施工;对外承包工程;照明器具销售;涂料销售(不含危险化学品);合成材料销售;专用化学产品销售(不含危险化学品);新材料技术推广服务;技术服务、技术开发、技术咨询、技术交流、技术转让、技术推广;建设工程设计;货物进出口;

访客留言
*姓名
*电话
微信
QQ
留言内容